ПРОДУКЦИЯ

Упорные роликовые подшипники выпускаются с цилиндрическими, коническими и сферическими роликами. Они могут воспринимать только осевые нагрузки.
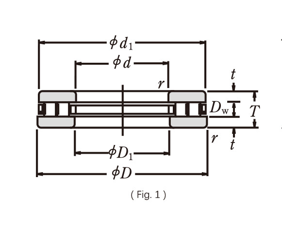
Цилиндрические упорные роликовые подшипники (рис. 1) — это разновидность подшипников, содержащих цилиндрические ролики. Они могут воспринимать только осевые нагрузки, но подходят для больших нагрузок и обладают высокой осевой жесткостью.
Они доступны как однонаправленные подшипники (однорядные и двухрядные) и двухнаправленные подшипники и в основном используются в поворотных рабочих столах станков, поворотных столах порошковых машин, экструдерах.

Шайбы подшипников (рис. 2) являются компонентами упорных цилиндрических роликовых подшипников и включают шайбы вала (WS), шайбы корпуса (GS) и универсальные шайбы (серия LS).

Конические роликовые упорные подшипники, содержащие конические ролики, бывают двух типов. Подшипники TT (рис. 3), имеющие ребро на шайбе корпуса, могут точно направлять вал в радиальном направлении, в то время как подшипники TTF, не имеющие ребра на шайбе корпуса, могут допускать некоторую эксцентричность во время работы. Они в основном используются в транспортировке материалов, промышленных трансмиссиях, станках, экструдерах для пластика.

Сферический роликовый упорный подшипник (рис. 4) представляет собой роликовый подшипник упорного типа, который допускает вращение с низким трением и допускает угловое смещение. Подшипник рассчитан на восприятие радиальных нагрузок и тяжелых осевых нагрузок в одном направлении.
Сферические роликовые упорные подшипники состоят из шайбы вала (для радиальных подшипников часто называемой «внутренним кольцом»), шайбы корпуса (для радиальных подшипников часто называемой «наружным кольцом»), асимметричных роликов и сепаратора. Они предназначены для классификаторов, экструдеров, насосов, экскаваторов, кранов, винтовых конвейеров.

Игольчатые роликовые упорные подшипники (рис. 5) оснащены формоустойчивым сепаратором для удержания и направления большого количества игольчатых роликов. Они способны выдерживать большие осевые нагрузки и пиковые нагрузки и выпускаются в двух исполнениях: упорные узлы с игольчатыми роликами и сепаратором (серия AXK) и упорные игольчатые роликоподшипники с центрирующим фланцем (серия AXW).

СВЯЗАННЫЕ ТОВАРЫ