ПРОДУКЦИЯ

Упорные шарикоподшипники изготавливаются как односторонние или двухсторонние упорные шарикоподшипники. Они могут выдерживать осевые нагрузки, но не радиальные.
Они предназначены для использования в таких областях, как промышленные вентиляторы, промышленные насосы, металлы, детали лифтов, медицинское оборудование, редукторы, спортивный инвентарь.
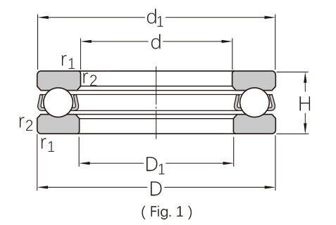
Однонаправленные упорные шарикоподшипники ( Рис. 1 )
Состоят из шайбы вала, шайбы корпуса и шарикоподшипникового узла. Могут воспринимать осевые нагрузки и фиксировать вал в осевом направлении только в одном направлении.

Двунаправленные упорные шарикоподшипники ( Рис. 2 )
Состоят из одной шайбы вала, двух шайб корпуса и двух шарикоподшипникового узла. Может воспринимать осевые нагрузки и фиксировать вал в осевом направлении в обоих направлениях.

Подшипник со сферическими шайбами корпуса ( Рис. 3 )
Они предназначены для компенсации начального смещения и доступны как в однонаправленном, так и в двухнаправленном исполнении. Подшипники могут использоваться вместе со сферической шайбой под гнездо, прилегающей к шайбе корпуса или прилегающей к компоненту машины, изготовленному со сферической поверхностью.

СВЯЗАННЫЕ ТОВАРЫ